政府信息公开

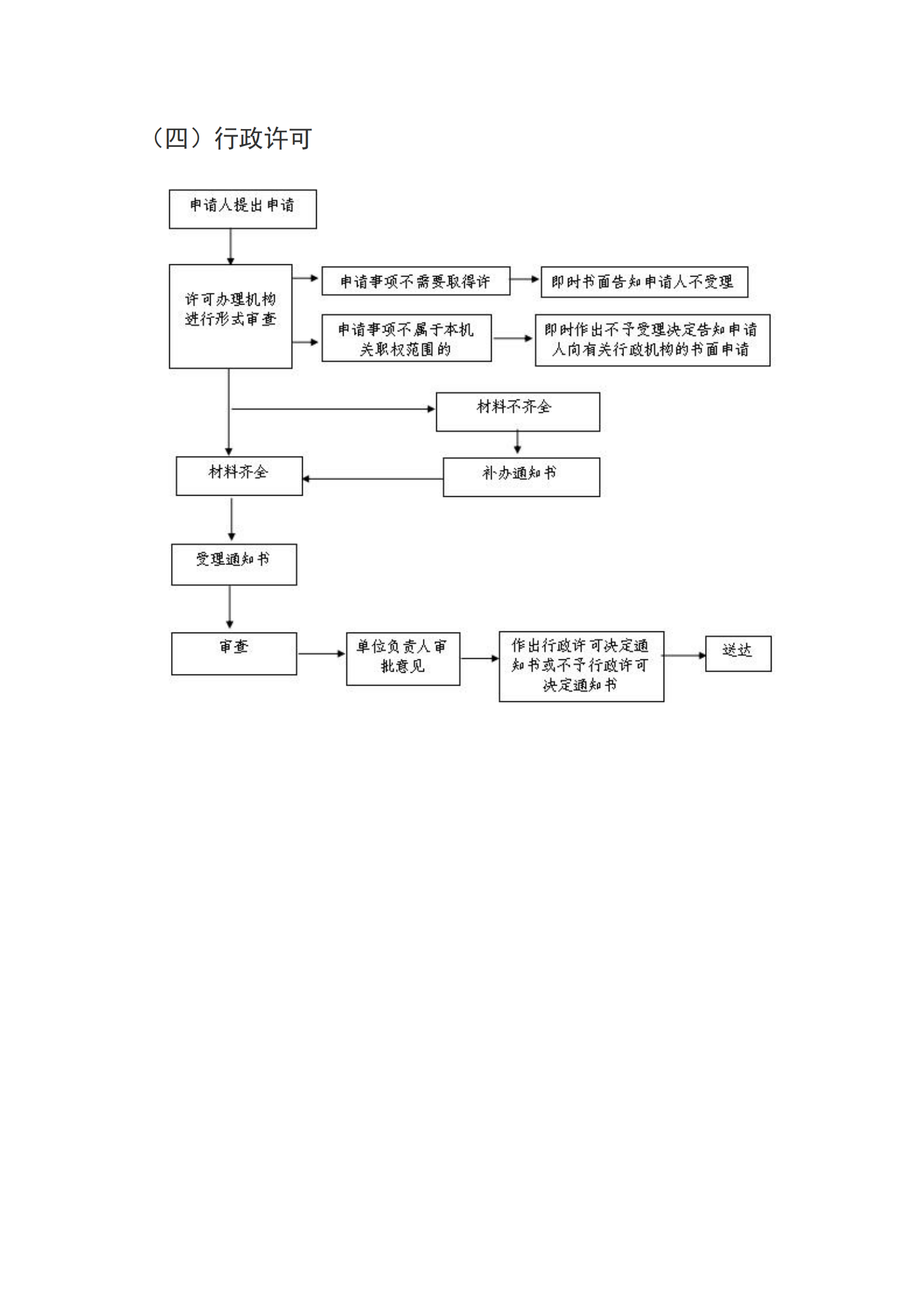
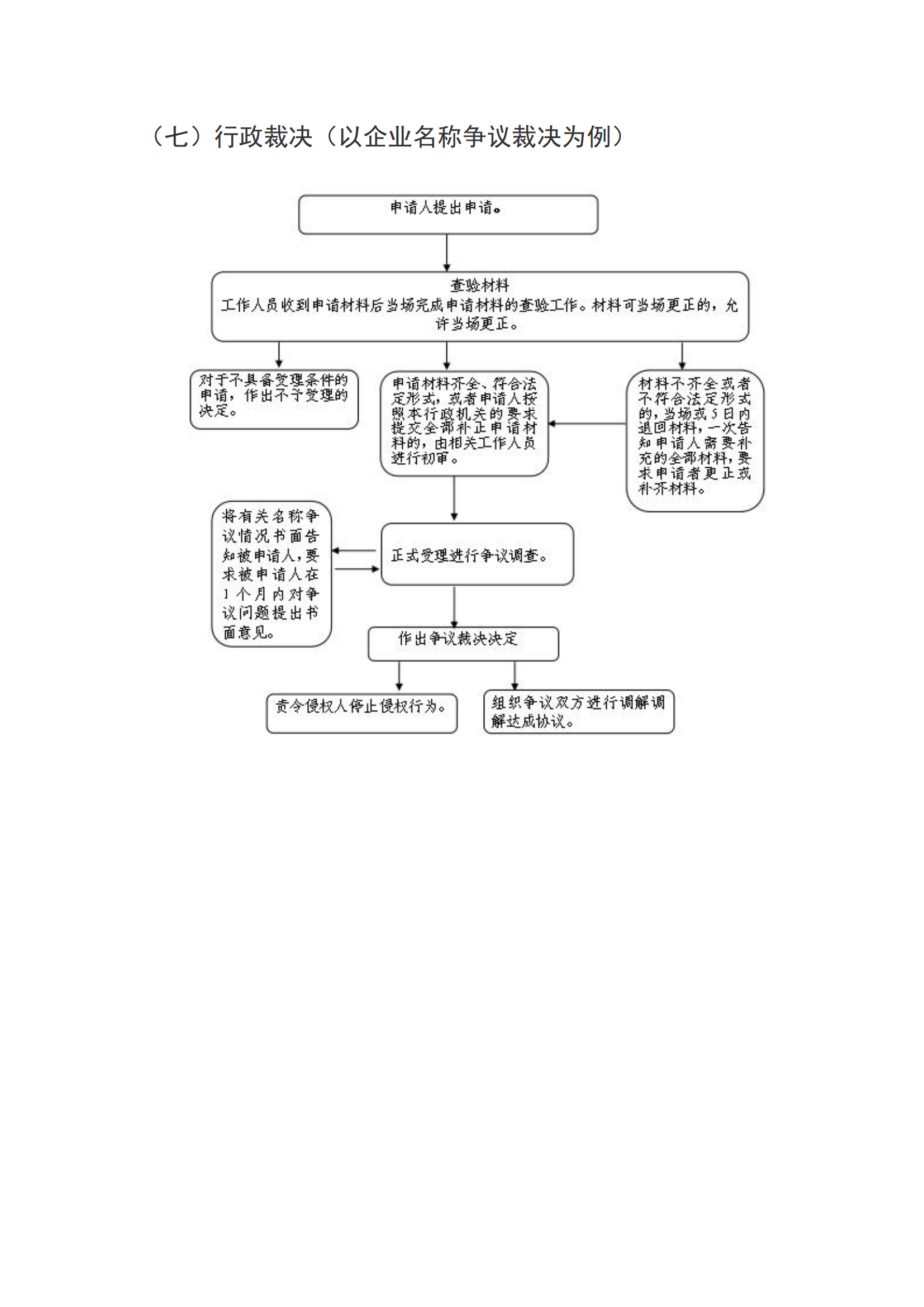
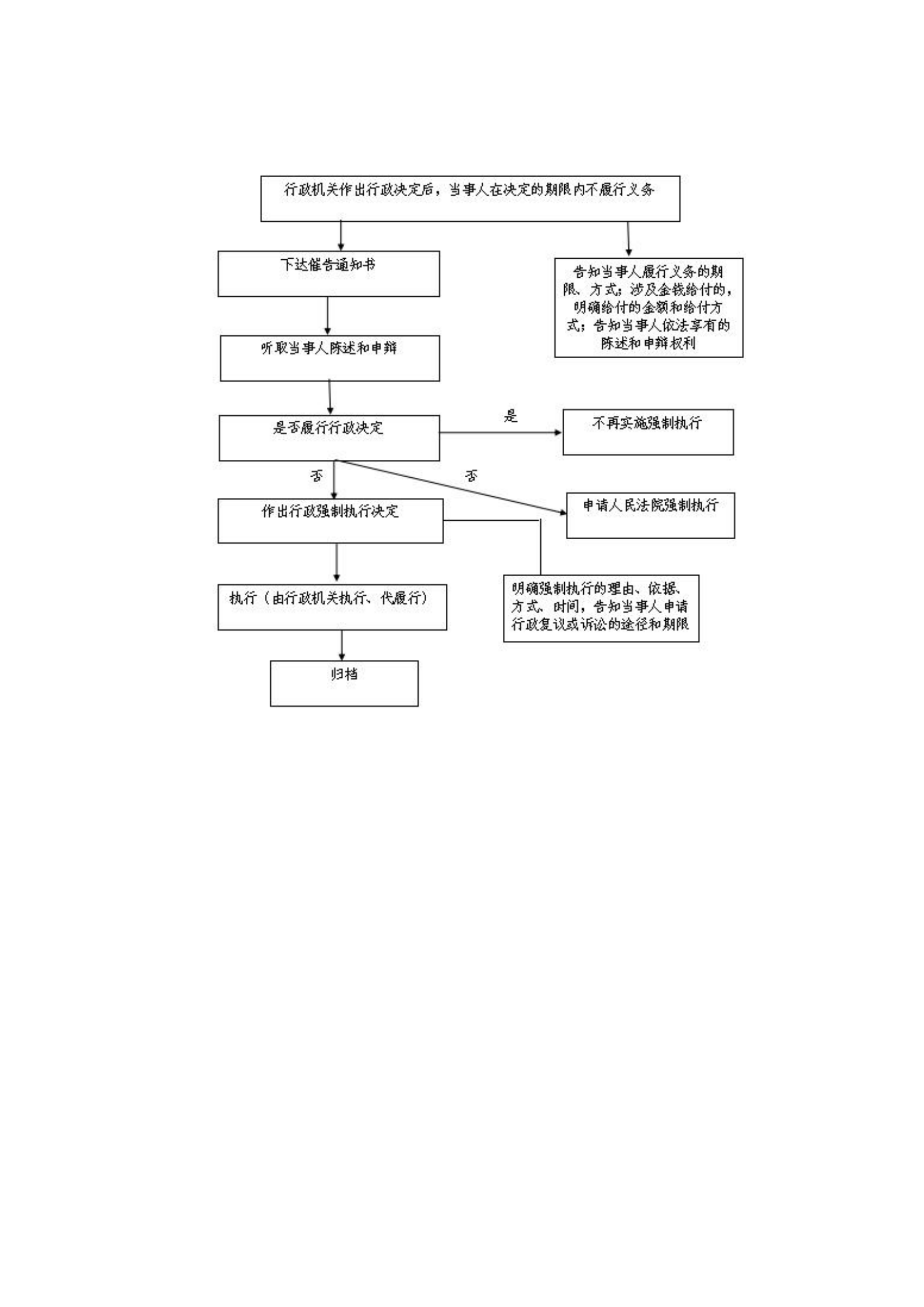
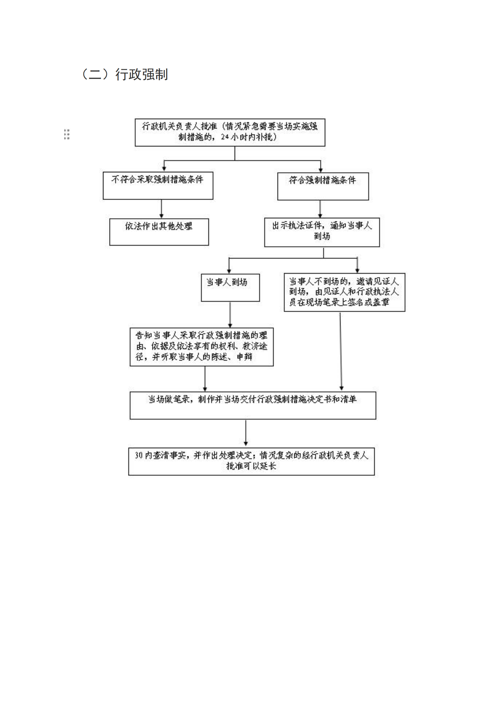
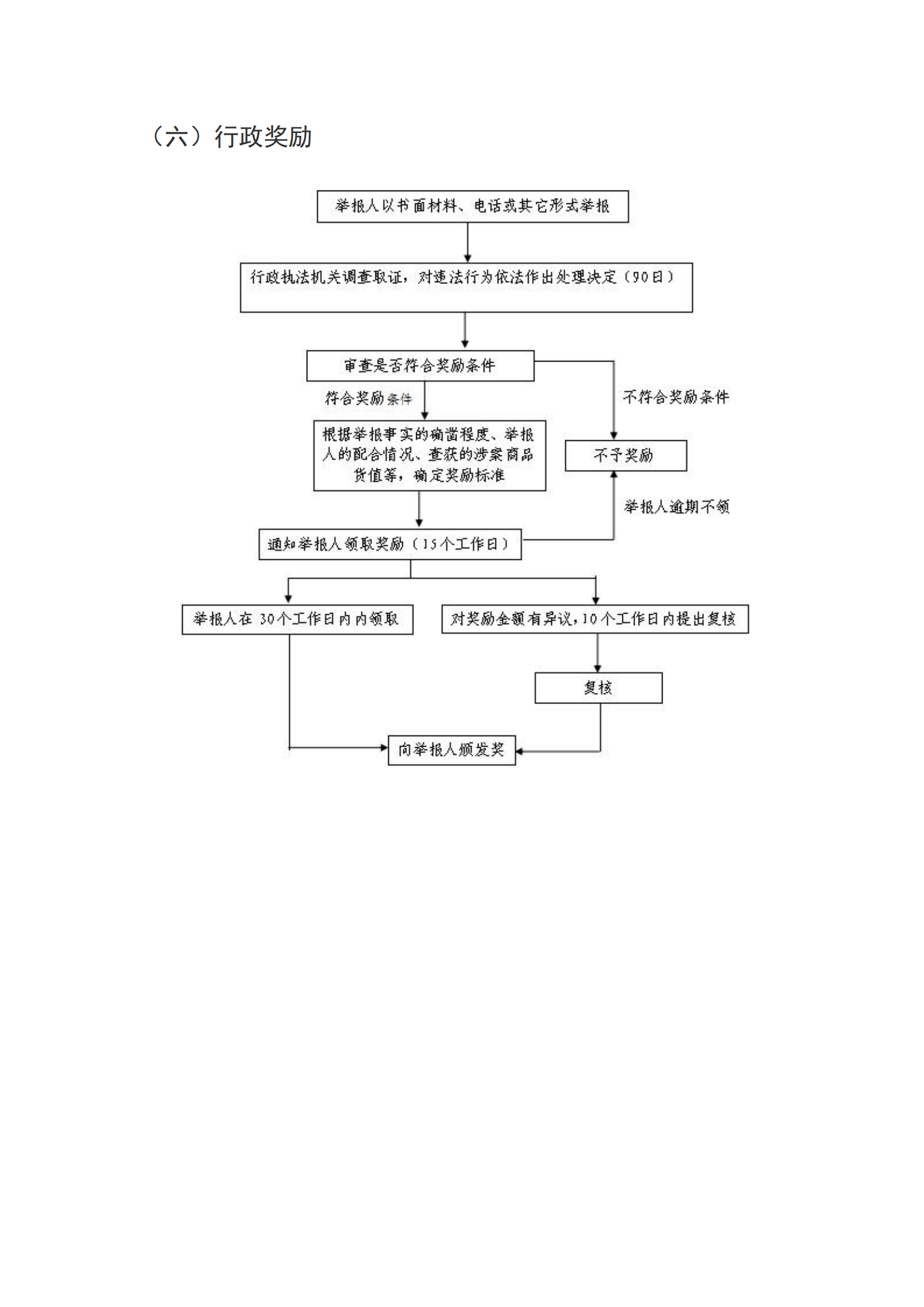
遂宁市安居区市场监督管理局行政事项流程图

来源:区市场监管局 发布时间:2024-11-06 14:14 浏览次数: 字体: [ ] 打印

扫一扫在手机打开当前页